Мы все видели интеллектуальные устройства: смартфоны, умные холодильники и даже умные дома. Однако на этот раз Microsoft, похоже, работает над … совершенно новым интеллектуальным рюкзаком Microsoft с поддержкой искусственного интеллекта. Что?
Технологический гигант из Редмонда подал заявку на патент на дизайн в мае 2023 года, но Управление по патентам и товарным знакам США (USPTO) только недавно одобрило заявку для общественного обсуждения — так же, как и их новая видеогарнитура.
Впрочем, не нужно пугаться названия. Этот новый интеллектуальный рюкзак Microsoft творит чудеса. Оснащенный искусственным интеллектом, он может идентифицировать объекты в окружающей среде, выполнять контекстуальные задачи, получать доступ к информации из облака и взаимодействовать с другими устройствами.

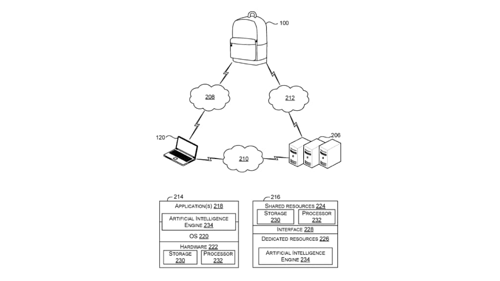
Рюкзак включает в себя камеру, микрофон, динамик, сетевой интерфейс, процессор и хранилище.
“Цифровые помощники становятся все более универсальными благодаря достижениям в области вычислительной техники. Нынешние концепции касаются усовершенствований носимых цифровых помощников, которые могут выполнять различные задачи на благо пользователей”, — говорит Microsoft.
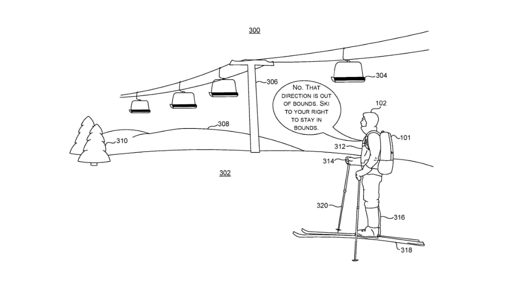
Честно говоря, он действительно выглядит прямо как из научно-фантастического фильма. В своей патентной заявке Microsoft описывает все, что этот рюкзак может делать в повседневной жизни. Например, вы можете попросить принести его для катания на лыжах и спросить, можете ли вы кататься в том направлении, в котором вы смотрите. Рюкзак автоматически просканирует окрестности и сообщит вам, выходит ли направление за рамки дозволенного или нет.

Вы можете встать перед концертной афишей и дать рюкзаку указание добавить напоминание в ваш календарь о посещении концерта. И если вы когда-нибудь будете в продуктовом магазине, вы можете спросить умный рюкзак о цене товара, есть ли он в продаже, его цене одну или две недели назад и сравнить цены на товар в других магазинах.
“Нынешние концепции касаются смарт-носимого устройства с поддержкой искусственного интеллекта, которое может функционировать как цифровой помощник без помощи рук. Более того, носимое устройство может быть контекстно-зависимым, так что пользователь может предоставлять контекстные команды, относящиеся к среде, в которой находится пользователь, и носимое устройство может понимать контекстную команду, воспринимая окружающую среду и используя искусственный интеллект ”, — также говорит Microsoft.

Процесс выполняется в шесть этапов. Как только рюкзак получит от вас команду, он автоматически почувствует окружающую среду с помощью различных датчиков, а затем отправит обе части информации в механизм искусственного интеллекта. Затем сервер интерпретирует информацию с помощью распознавания речи и обработки естественного языка.
Затем искусственный интеллект возвращается с ответом, будь то ответ на запрос, подтверждение того, что задача выполнена, и / или приглашение запросить у вас дополнительную информацию.
Честно говоря, на данный момент на рынке не так уж много интеллектуальных рюкзаков с искусственным интеллектом. Targus, известный производитель сумок для ноутбуков, представил свой 15,6-дюймовый рюкзак Cypress Hero в прошлом году. В нем есть все необходимое: встроенная технология Apple Find My, встроенная перезаряжаемая и сменная батарея и многое другое за 150 долларов.
С 2021 года также выпускается интеллектуальный рюкзак на базе искусственного интеллекта от Intel со встроенным GPS-модулем, который может помочь людям с ослабленным зрением сканировать окружающий мир. Но по сравнению с этим? Мы бы сказали, что новый умный рюкзак Microsoft может изменить правила игры.
